産品
産品概述 收藏
CSU18M65
支持單鍵壓力觸控及防誤觸 标準I2C/UART輸出接口 低功耗,小體(tǐ)積
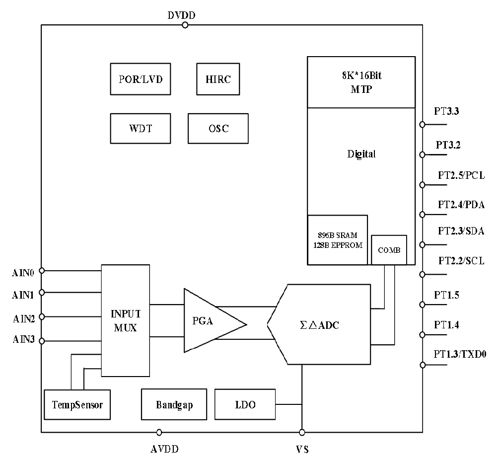
CSU18M65是一款集成24位ADC、具有雙通道輸入的橋式傳感器調理(lǐ)芯片,支持I2C通信接口,内置8位RISC内核、MTP存儲器,支持用戶編程,可(kě)用于壓力、氣體(tǐ)等傳感器調理(lǐ)。
主要特性
24bit Sigma-Delta型 ADC
支持2路(lù)全差分(fēn)或4路(lù)單端輸入
支持10Hz~5KHz多種DataRate
集成PGA,支持1/2.5/8/10/20倍增益
内置溫度傳感器
8位RISC MCU内核,8KW MTP存儲器
定時器:Timer0 / Timer1 / WDT
工(gōng)作(zuò)電壓:2.4~3.6V
ADC工(gōng)作(zuò)電壓:2.6~3.6V
工(gōng)作(zuò)溫度: -40~85℃
支持2路(lù)全差分(fēn)或4路(lù)單端輸入
支持10Hz~5KHz多種DataRate
集成PGA,支持1/2.5/8/10/20倍增益
内置溫度傳感器
8位RISC MCU内核,8KW MTP存儲器
定時器:Timer0 / Timer1 / WDT
工(gōng)作(zuò)電壓:2.4~3.6V
ADC工(gōng)作(zuò)電壓:2.6~3.6V
工(gōng)作(zuò)溫度: -40~85℃
輸出接口
I2C接口,支持100kbps/400kbps
UART接口
UART接口
封裝
WLCSP16,1.915mm x 1.820mm
功能框圖

設計(jì)與開發
工(gōng)具/軟件(jiàn)
_1667966589.jpg)
CSU-IDE V6.0.3
芯海8位MCU/SOC集成開發環境
1. 集成C編譯器、彙編器、鏈接器、調試器
2. 支持标準C語言和彙編語言開發 3. 集成各芯片示例代碼


























